תַקצִיר
תבנית כוויות קרה מרובות למיסב אלמנטים מתגלגלים, מתאימה במיוחד לתהליך כיוון קר של כדורי פלדה וגלילים גדולים. התבניות הנפוצות כיום מאמצות מבנים אינטגרליים או שניים משולבים, עשויים מפלדת GCr15, עם חיי שירות נמוכים ונזק קל. עיצוב זה משלב טבעת מעבר ורפידת חיץ עם מקדם שחזור חומר נמוך יותר בין ליבת התבנית למעטפת התבנית, ובכך משפר את חיי השירות של התבנית ומפחית את עלויות הייצור.
תֵאוּר
תבנית מזח קרה לנושא אלמנטים מתגלגלים, מתאימה במיוחד לתהליך מזח קר של כדורי פלדה ורולים גדולים.
כדורי פלדה או גלילים ייצרו לחץ משמעותי על התבנית במהלך תהליך המזח הקר, ובכך יחייבו את התבנית לחוזק וקשיחות גבוהים מבחינת ביצועי עבודה ותוחלת חיים. התבנית משפיעה ישירות על האיכות, יעילות הייצור ועלות המוצר. נכון לעכשיו, ציוד המזח הקר לייצור כדורי פלדה מעל 1 אינץ' בסין כולל בעיקר דגמים כגון 232-52 ו-EPNK35. תבנית המזח הקרה מאמצת בדרך כלל מבנה שלם או שניים, והחומר הוא פלדה GCr15. נכון לעכשיו, לעובש עם מבנה זה חיי שירות נמוכים והוא נוטה לנזק.
מטרת מודל שימוש זה היא לשפר את החומר והמבנה של מבנה התבנית הנ"ל, ולתכנן תבנית רב קומבינציה חדשה העונה על דרישות תהליך המזח הקר עבור אלמנטים מתגלגלים בקוטר של מעל 1 אינץ'.
מודל שימוש זה מפחית את עומס ההשפעה על מעטפת התבנית במהלך תהליך המזח הקר ואת כוח התגובה של מעטפת התבנית על ליבת התבנית על ידי הגדרת חיץ מתכת בין ליבת התבנית למעטפת התבנית, על מנת להגן על ליבת התבנית מפני דפורמציה ופיצוץ ולהאריך את חיי השירות של התבנית. בחירה סבירה של עובי הדופן של שרוול המעבר, גובה כרית החיץ, כמו גם החומרים הנבחרים ותהליך הטיפול בחום, יכולים לעמוד בדרישות תהליך המזח הקר של גדלים שונים של מוצרים.
הבסיס הרעיוני של מודל שימוש זה הוא עקרון התנגשות אובייקטים במכניקה תיאורטית.
ניוטון גילה במהלך חקר חוקי ההתנגשות שהיחס בין המהירות בסוף התנגשות למהירות בתחילת התנגשות נשאר קבוע עבור עצם שנקבע בחומר, כלומר|U/V |=K. בנוסחה, V מייצג את המהירות לפני ההתנגשות, U מייצג את המהירות לאחר ההתנגשות, ו-K מייצג את מקדם התאוששות החומר.
בתהליך ההתנגשות יש בדרך כלל אובדן אנרגיה מכנית המומרת לאנרגיה תרמית, אנרגיית אור או צורות אחרות של אנרגיה. לכן, אובדן האנרגיה הקינטית כאשר שני עצמים מתנגשים זה בזה הוא Δ T=T0-T1=[m1m2/(2 (m1+m2))] ( 1-K2) (V1-V2) 2
בנוסחה: T0- אנרגיה קינטית של שני העצמים לפני ההתנגשות
T1- אנרגיה קינטית של שני עצמים לאחר התנגשות
מהירות V1V2- של מרכז המסה של שני העצמים לפני ההתנגשות
M1m2- מסה של שני עצמים לאחר התנגשות
K - מקדם התאוששות החומר
המשוואה לעיל מצביעה על כך שערך K של מקדם התאוששות החומר של העצם המתנגש הוא גורם חשוב המשפיע על אובדן האנרגיה הקינטית. לפי עיקרון זה, טבעת מעבר עם מקדם שחזור חומר נמוך יותר ורפידת חיץ נקבעת בין ליבת התבנית למעטפת התבנית כדי להגביר את אובדן האנרגיה הקינטית בין ליבת התבנית למעטפת התבנית, תוך השגת המטרה של הפחתת עומס הפגיעה. על מעטפת התבנית ועל ליבת התבנית.
איורים 1 ו-2 מציגים שתי התגלמויות של מודל השירות הנוכחי.
איור 1 הוא דיאגרמה סכמטית של שלושת השילובים של תבנית המזח הקר של כדורי פלדה.
בתמונה: 1. ליבת עובש, 2. מעטפת עובש, 3. רפידת חוצץ. התאמת ההפרעה או המעבר בין ליבת התבנית למעטפת התבנית, וכרית החיץ דורשות מקביליות טובה ושטיחות פני השטח.
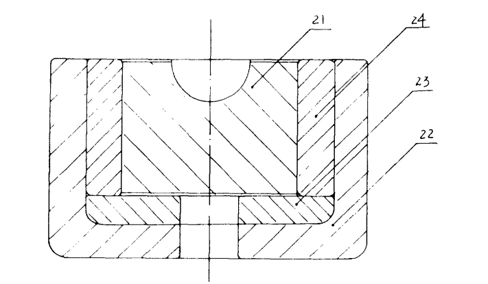
איור 2 הוא דיאגרמה סכמטית של תבנית ארבעת השילובים של כדורי פלדה במזח קר.
בתמונה: 21. ליבת עובש, 22. מעטפת עובש, 23. רפידת חוצץ, 24. טבעת מעבר. לליבת התבנית וטבעת המעבר, לטבעת המעבר ולמעטפת התבנית יש התאמה או התאמה למעבר, וכרית הכרית דורשת מקביליות טובה ומשטח חלק. טבעת המעבר ורפידת החיץ עשויים מפלדת תבנית Cr12NOV או 65Nb.
לתבנית מזח קר מרובת שילובים זו יש את היתרונות הבאים בהשוואה למבנים אינטגרליים או שניים משולבים הנפוצים:
בשל שילוב התבניות, הגודל והעובי של חלקים בודדים מצטמצמים יחסית לתבניות אינטגרליות, מה שמקל על עמידה בדרישות של תהליכי טיפול בחום, ובכך פותרים את בעיית ההתקשות הירודה בתהליך הטיפול בחום של תבניות מבניות מקוריות. .
חומר התבנית שובר את המסורת של שימוש רק בפלדה נושאת GCr15, וכרית החיץ וטבעת המעבר עשויים מפלדת תבנית כללית, מה שמרחיב את מגוון החומרים של תבניות מזח קר.
בשל העיצוב הסביר, חיי השירות של התבנית הוארכו. לאחר אימות הייצור, היעילות שולשה והעלות הופחתה בחצי.

איור 1

איור 2
2024 אוֹקְטוֹבֶּר3המלצת מוצר WBM בשבוע:
גליל סופר גימור:
יש לנו 30 שנים בתכנון וייצור ניסיון במיסבים גלגול אלמנטים ותעשיית כלי עבודה עם ISO9001 ו-IATF16949. כלי עבודה עבור מכונת כותרת קרה, מחרטה, מטחנה ייוצרו בהתאם לדרישתך.

